尚品宅配以5亿元担保“输血”子公司,高负债主体占3亿元
品牌动态 8小时前
佳饰家完成IPO辅导,兔宝宝现身股东阵营
品牌动态 时间: 8小时前
“家装隐形冠军”正式向A股资本市场迈出关键一步。
近日,江苏佳饰家新材料集团股份有限公司(以下简称“佳饰家”)披露首次公开发行股票并上市辅导工作完成报告,标志着这家在装饰材料领域深耕多年的“家装隐形冠军”正式向A股资本市场迈出关键一步。

根据辅导报告,自2023年7月5日至2025年11月26日,辅导机构东方证券共开展了九期辅导工作,重点围绕公司治理、内部控制、关联交易、财务规范等核心领域进行了系统性梳理与整改。

家居巨头的“隐形”供应商
公开资料显示,佳饰家成立于2010年,总部位于江苏常州,是一家集装饰材料设计、研发、生产、销售于一体的高新技术企业。公司主营业务为浸渍胶膜纸、印刷装饰纸等饰面材料的研发、生产和销售,产品被广泛应用于定制家具、地板、橱柜、墙板等家居制造领域。
通过“化学”与“设计”双轮驱动,佳饰家已成为国内该细分领域的龙头企业之一。公司在国内主要家居产业聚集区布局了十余家生产基地,其合作伙伴名单堪称家居行业“明星阵容”,包括兔宝宝、莫干山、千年舟、志邦家居、好莱客、尚品宅配等多家知名品牌。
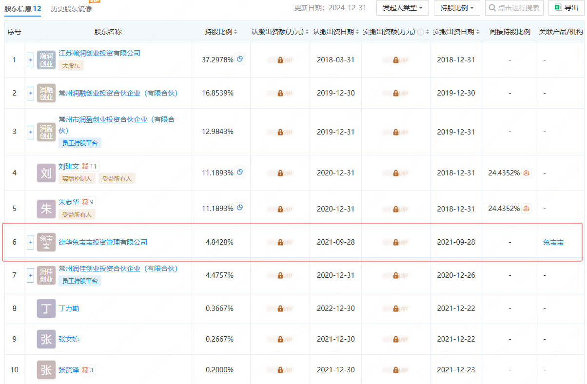
穿透其股权结构,前5大股东分别为江苏瀚润创业投资有限公司、常州润融创业投资合伙企业(有限合伙)、常州市润盈创业投资合伙企业(有限合伙)、朱志华、刘建文,分别持股37.2978%、16.8539%、12.9843%、11.1893%和11.1893%。其实控人为朱志华,拥有超六成表决权。此外,兔宝宝也现身股东阵营,其通过旗下投资平台持有佳饰家4.84%的股份,这种股东结构使得公司与兔宝宝集团的交易备受关注。


复杂的关联交易与对赌协议清理
作为报告的重点,佳饰家与众多关联方及特定股东方之间的交易合规性问题受到了严格核查。公司的股东背景和产业布局使得其交易网络较为复杂:
公司董事邵生鑫家族控制的企业常州兴达、广西兴达是其主要化工原料供应商。
公司股东、知名家居上市公司“兔宝宝”的母公司兔宝宝集团,是佳饰家重要的客户之一。
此外,公司还与持股其控股子公司49%股权的重要少数股东云峰新材存在大量的采购与销售往来。

为确保这些交易的公允性与透明度,杜绝利益输送,辅导机构会同会计师、律师对相关交易的商业实质、定价机制进行了全面复核,并督促公司建立了严格的关联交易决策制度。所有已发生的交易均被完整披露,部分交易被要求作为“比照关联方披露的交易”进行特别说明,以满足上市公司的信披标准。
值得关注的是,历史上佳饰家曾与股东兔宝宝投资及部分自然人股东签署过包含业绩承诺、赎回权等条款的对赌协议,这在拟上市公司中是需要重点清理的“硬伤”。辅导期间,在机构的督促下,相关各方已全部签署了《特殊权利条款终止协议》,约定相关条款自始无效且无恢复效力,彻底解除了这一潜在的股权结构稳定性风险。
募资调整,瞄准智能化与绿色化升级
根据辅导报告中披露的规划,佳饰家原拟实施募集资金投资项目为“智能绿色工厂建设项目”,投资规模10.45亿元,其中因子项目“湖北智能自动化浸渍纸和复合材料生产线建设项目”及其他子项目中的部分投资已实施完毕,并综合考虑后续申报计划,拟对募投项目予以调整。

募集项目包含位于广东、湖北、广西、江苏等地的多个子项目,旨在通过引进自动化生产线、升级信息化系统,对现有产能进行全面的智能化、绿色化改造。此外,募集资金还将用于“研发中心及信息化建设项目”以及补充流动资金。这一系列投资计划,显示出佳饰家希望借助资本市场力量,巩固其技术领先优势,提升生产效率和环保水平,以应对下游家居行业日益增长的个性化、高品质和环保需求。
随着辅导完成,佳饰家有望在近期正式递交招股说明书,进入上市审核阶段。对于佳饰家而言,成功跨越辅导期只是上市长跑的第一步。未来,其复杂的关联交易定价公允性、募投项目产能消化的可行性等问题,仍将是监管审核和市场关注的重点。若最终成功登陆A股,这家隐藏在家居品牌背后的“材料专家”,其价值将迎来资本市场的重新审视。
77°全球家居新媒体所有文章/评论属于作者个人观点,不代表77°全球家居新媒体的观点和立场!77°全球家居新媒体致力于打造全球泛家居产业的信息平 台,所有内容和信息未经授权,禁止任何机构或者媒体转载,如需进一步了解详情请联系邮箱: news@77D.cn。部分引用或者转载的信息,我们已主动联络作者或者机构获取授权,如果您发现 内容存在版权问题,请点此反馈,我们将及时处理。



